






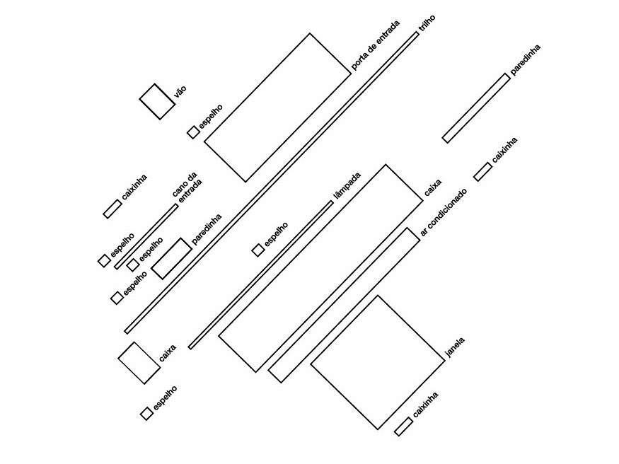
Espuma
2025
Espuma e revestimento do espaço expositivo.
Orlando, São Paulo.
Espuma se constitui a partir de recortes no carpete do espaço expositivo, com medidas referentes a elementos da estrutura do espaço, como o tamanho das portas, janelas, do ar-condicionado, e dos espelhos das tomadas.